実家を出て、初めての一人暮らしをするとき、とりあえずニトリへ行って、一人暮らしに必要な一通りの家具を揃えました。また、結婚して新しい生活をスタートさせたときも、やはりニトリへ行き、食器など生活必需アイテムをカートいっぱいに買いました。
暮らしに必要なものが、なんでも揃っている!
ついつい買う予定のなかったものまで買ってしまった!
ニトリへ行けば、毎日の暮らしに必要なものがたくさん揃っています。ニトリは、日本国内の家具、インテリア業界において首位の売上を獲得しており、店舗数も1000を超えています。
「暮らしの豊かさを世界の人々に提供する。」といったロマンを持ち、日本国内で他にはない、独自のビジネスモデルを構築しています。
本記事では、ニトリのビジネスモデルと、魅力的な商品たち、それらをしっかりと支える知的財産について紹介します。
目次
1.ニトリのビジネスモデルと知的財産
1-1.トータルコーディネートの提供(意匠)
ニトリの店舗に行くと、例えばリビング、寝室などを想定した空間が創られており、家具の配置、カーテンの配色、小物の組み合わせなど、トータルにコーディネートされています。

最近では、日本でもニトリに限らず、このようなトータルコーディネートを取り入れている売り場を見かけることが増えました。
しかし、ニトリがトータルコーディネートを取り入れ始めるころには、まだ日本にはそのような事例がなく、当時、似鳥社長がアメリカ研修旅行での視察でそのような発想を得て、日本にも取り入れようと考えられたそうです(1970年代)。
このように、トータルコーディネートに注力するニトリは、内装に関する意匠権も取得しています。

<以下、意匠に係る物品の説明より抜粋>
本願意匠は、スタイル別に展示空間を並べ、また、カーテンやラグ、カーペットなどのインテリアのイメージを左右するファブリックを什器に広げて陳列することで、スタイルのイメージを利用者に判りやすく提案することができる。
このように、店舗の空間を自宅の部屋に見立て、手前側の空間には家具を配置し、什器には家具に合わせたカーテンやカーペットを取り付けることができます。
顧客は部屋全体のトータルコーディネートの雰囲気を確認しながら、家具等の購入検討を行うことができます。

意匠登録1689462 使用状態を示す参考図2
図のように、同様の間取りで、色味を変えたものを横並びにすることで、他の提案と比較しながら自分の好みにあったトータルコーディネートを見つけやすくなりますね。
1-2.「お、ねだん以上」を実現する、ニトリの製造物流IT小売業(商標、特許)
そしてニトリといえば、このキャッチフレーズが有名ですね。

ここで注目したいのが、「おねだん」ではなく「お、ねだん」であるということです。このキャッチフレーズには、「お客様の期待を上回ること」というメッセージが込められています。
「お、」というのは、小さな驚きのような、意外性のような意味が込められているのでしょう。
当時の似鳥社長がアメリカ研修旅行にて視察に行かれた際、トータルコーディネートの他に衝撃を受けたのは、家具の価格帯でした。当時の米国における家具の価格帯は、日本の約3分の1だったそうです。
「生活に必要なアイテムがもっと安く、手に入りやすい世界を作る。そして単に価格が安いだけではない、高い品質・機能を両立させていく。」これらはまさに今のニトリが実現していることです。
ニトリが今の価格帯を実現できた理由の一つには、ニトリ独自のビジネスモデル「製造物流IT小売業」が大きく関わっています。

「製造物流IT小売業」とは、従来の「製造小売業」と呼ばれる事業モデルに、物流機能とITをさらに加えたものです。あらゆることを内製し、一気通貫で行うことにより、各工程と工程の間に発生するコストをできるだけ抑え、今の価格帯を実現しています。
中でも、IT機能まで内製されている点が興味深いですね。
例えば、ニトリネット(ニトリの公式通販サイト)で閲覧した商品について、その商品の在庫を持つ店舗を探すことができたり、逆に、店舗で閲覧した商品を画像等でアプリに取り込むことにより、ニトリネットにおいて類似商品を更に探すことができたり、と、実店舗とECサイト間をシームレスに行き来できるようにし、顧客が商品を一層選びやすくなるようにしています。
販売形態へのEC導入という観点から見ると、デジタルカタログにおいてECサイト上で遠景画像(部屋での設置例画像)と近景画像(生地の詳細画像)を同じページで見せ、ユーザは、商品画像をクリックするだけでEC購入ページに遷移できる設計になっています。
デジタルカタログとECの連携システムについて特許取得されていました(J-PlatPat特許検索(特許7270010))。
デジタルカタログの閲覧において、ユーザは、画面左の画像でカーテンをインテリアに取り入れたイメージを確認するとともに、右側の画像でカーテンの詳細構造を確認しながら、購入検討をすることができます。

このデジタルカタログは、店舗の端末でも見ることができますし、例えば自宅から、ユーザのスマホから見ることもできます。
カーテンを豊富に取り揃えているニトリの場合、店舗でも実物のカーテンを1から全部見るのは大変ですね。デジタルカタログで目星をつけてから実物を確認する・・・といったようにも使えそうです。
このように、ニトリは顧客がより商品を選びやすく、購入しやすい仕組みを作り上げていることが特許情報からもわかりますね。
2.ニトリのアイテムと特許情報~グッドデザイン賞受賞アイテムからピックアップ~
さて、前章でご紹介した通り、ニトリは商品開発から製造、物流まで内製することにより「お、値段以上」を実現しています。
ニトリの商品開発によって誕生した数多くのアイテムのうち、これまでにグッドデザイン賞を受賞したものも多くあります。
本記事では、グッドデザイン賞を受賞したものの中から3つの商品・サービスをピックアップし、特許情報とともにご紹介していきます。
2-1.たたみやすい、分解しやすいマットレス
ニトリのマットレスは、度々グッドデザイン賞を受賞しています。例えば、2017年に受賞したのは、収納面で手軽なマットレスです。

受賞対象名「広々使えて小さくしまえる敷き布団・マットレス」
見ての通り、コンパクトにしまうことができるマットレスで、収納に困りません。さらに、軽さにもこだわりがあり、楽に持ちあげることができ、押入れやクローゼットへの出し入れが負担にならないのも大きなポイント。
家族が増え、畳む布団の枚数が増えると、持ち運びやすさは本当にありがたいです。
この、布団のたたみやすさの工夫が特許として登録されています(J-PlatPat特許検索(特許7046576))。

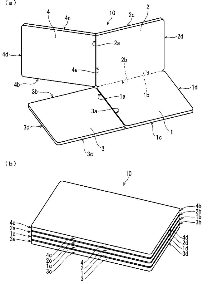
特許7046576 図5
見ての通り、1枚の敷布団が複数の「矩形布団片」から構成されており、矩形布団片同士が対向する側面を蝶着(ちょうちゃく)しておくことで、持ち上げると簡単に矩形布団片同士が簡単に折りたたまれ、積み上がるようにしています。
※蝶着とは、例えばヒンジ状に連結することです。
さらに、特許ではメッシュの面積の配分を長手方向側に多くすることにより、折りたたむ方向が自然と誘導される構成についても請求項1において規定されています。

特許7046576 図1(端部1a~1d、2a~2d、3a~3d、4a~4dのうち、1a、2a、3a、4aにはメッシュが含まれない、または他の端部よりメッシュの面積が小さい)
また、マットレスは、2021年にも同様にグッドデザイン賞を受賞しています。

受賞対象名「廃棄時に分解しやすいポケットコイルマットレス」
名前の通り、使い終えたあとの再資源化までも見据えた構造になっています。複数のコイルからなるマットレスは、それぞれのコイルが身体の形に合わせて沈むため、理想的な寝姿勢を保ちやすいといったメリットがあります。
多くのコイルを使ったマットレスが低価格で実現できるのもニトリならではなのかなと感じます。
そんなコイルマットレスはニトリに限らず他社からも出ていますが、廃棄時にコイルと不織布、それぞれ素材を分別するのにかなりの手間がかかる、といった課題がありました。
たいていのユーザは廃棄業者に依頼するか、もしくは長時間かけてコイルと不織布を分別する作業を要します。この点に着目したのが、ニトリのマットレスだったのだとか。
マットレスのウレタンを取り外すと、コイルが収容されている不織布に施されたミシン目に沿って不織布を破断していきます。これにより、ユーザが自身で簡単に廃棄することが可能になる、そういった点が受賞理由だったそうです。
この構造が、特許取得されています(J-PlatPat特許検索(特許第7008856))。

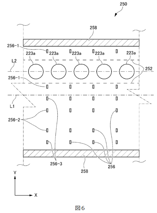
特許7008856 図6
複数のコイルスプリング(223a)をそれぞれ収容する連続ポケット構造が、1枚布で形成されています。さらに、ポケット空間の両側に、マットレスの長手方向に沿ってミシン目252を2本形成します。
この2本のミシン目を上方向と下方向に引っ張ることで、簡単に破断でき、中のコイルを取り出すことができるという構造です。
2-2.ズレにくく快適なランドセル

受賞対象名「ニトリのランドセル わんぱく組メチャ!ピカ & わんぱく組cubee」
まずは、ニトリでランドセルも開発していた点に驚きました。ニトリの扱う商品は非常に幅広いです。
そして、そのランドセルが2019年にグッドデザイン賞を受賞していました。ランドセルを背負う子どもたちへの体の負荷を軽減し、快適性を追求している点が評価されておりました。
ランドセルはもう何十年も前から小学生が背負っており、「快適性」等のテーマは随分前から各種メーカーがさまざまな観点で検討していることでしょう。
今回ニトリが着目した点は、「快適性」の中でも特に、「背中に接触する面の摩擦」でした。
背当て面の摩擦を高めることで、歩行・走行時にランドセルが衣服に対して滑りにくくなり、ランドセルの上下・左右の揺動が抑制され、身体へのフィット感が向上するといったものです。

特許では、ランドセルの背面部分(後面側表面部)について定義されています。
具体的には、後面側表面部は、「1マイクロメートルオーダーあるいは10マイクロメートルオーダーの凹凸群が形成された人工皮革により衣料繊維素材に対する高摩擦抵抗の粗面に形成される」と定義されています。
さらに、従来技術との違いについて、「従来背当て生地は、不織布の表層部に合成樹脂を含浸させて表面コーティングしたものであり、表面を粗くする処理が施されていない(段落0026)」と明細書で説明されています(J-PlatPat特許検索(特許第7187419))。

特許7187419 図6((A)が高摩擦背当て生地の縦断面画像、(B)が表面画像)
2-3.保管付き布団洗いサービス

受賞対象名「保管付き布団洗いサービス」
ニトリの商品だけでなく、サービスまでもがグッドデザイン賞を受賞されていました。布団は誰もがほぼ毎日利用するものです。
しかし、洗濯するために近所のランドリーへ布団を運ぶのは一仕事。よほど汚れない限り、ランドリーで布団を洗う機会は少なく、時々干す程度といった家庭も多いのではないでしょうか。
また、夏の季節は不要な厚手の掛け布団などは、年の半分以上は自宅の押入れで過ごすことになり、広い保管スペースが必要ですね。
負担や手間となってしまう、寝具の洗濯や保管を代行してくれるサービスがあったら・・・?
「保管付き布団洗いサービス」は、まさに布団の洗濯や管理の負担を低減してくれるサービスです。
ニトリネットを介してクリーニングを申し込むと、圧縮用キットが届くので、寝具を圧縮用キットに入れて準備をしておきます。
あとは、自宅まで集荷に来てもらい、クリーニング、さらに希望があればそのまま保管してくれます。そして、布団が必要になる季節に再び自宅まで配送してもらう、といったものです。
このサービスに関連するアイデアが特許出願されています。圧縮用キットの申し込みから、保管後の布団の配送まで、公開公報に記載されています。

特開2024-131224 図1
「保管付き布団洗いサービス」の興味深い点は、布団のセルフランドリー事業を行っている「フトン巻きのジロー」と、寝具メーカーの「SINGS」と提携して、このサービスを提供していることです。上記出願も、3社の共同出願です。
布団のクリーニング部分については「フトン巻きのジロー」が、布団の長期保管のノウハウはSINGSがそれぞれ行うとともに、布団の販売数も多く、さらに全国的に配送ネットワークを持っているニトリのニトリネットを窓口として、全国でサービスを利用できる体制としています。
このように、「保管付き布団洗いサービス」は、各社のノウハウや強みを集めたサービスになっています。
このように、ニトリの全国ネットワークを活かしながら他社と提携して作るサービスが今後も登場するかもしれません。今後の動向にも注目です。
3.まとめ
本記事では、冒頭でニトリのビジネスモデルをご紹介しながら、当時の日本の家具業界では他に見なかった戦略やニトリ独自の強みについて、知財とともに見ていきました。
後半では、グッドデザイン賞に選出されたニトリの商品・サービスの一部について、特許情報とともに紹介しました。中には他社との協業により提供されているサービスもありました。
ニトリは自社で製品開発を行っており、幅広いジャンルの、数多くのアイテムが販売されています。その中でも、グッドデザイン賞を受賞した商品は、積極的に特許出願・権利化されている様子が伺えました。
このように知財も武器のひとつとして、ニトリが今後も消費者の期待を超え続け、人々の暮らしのかたちを作り出していく動向から目が離せませんね。