先日、「チームラボ バイオヴォルテックス京都」を訪れました。
チームラボは、デジタル技術を駆使した体験型の没入空間アート作品を楽しむことができるミュージアムです。光や音、空間そのものに包まれるような体験ができる場所です。

(筆者撮影/『内に秘めた輝き』)
私はこれまでも「チームラボボーダレス」(麻布)、「チームラボプラネッツ」(お台場)、「チームラボボタニカルガーデン」(大阪長居植物園)を訪れ、それぞれ魅力が盛りだくさんの体験ができました。そのため、京都に誕生した新たな常設展示も、とても楽しみにしていました。
2025/10/27から常設展示が開始された「バイオヴォルテックス京都」は、京都駅から徒歩圏内の場所にあります。住宅街に入ると、存在感のある建物が現れます。
作品は、どれも見入ってしまうものばかりです。目や耳で楽しむ作品が多い中、「バイオヴォルテックス京都」の作品は、感触を確かめるなど、より作品の“中に入る”感覚が強い印象を受けました。

(筆者撮影/『生と回帰の無常の抽象 – 呼応』)
気づけば4時間以上も滞在。子供たちも飽きることなく楽しんでいました。

(筆者撮影/『開いた小宇宙の中のメガリス』)
実は、チームラボの作品に関連する特許権や意匠権が取得されていることをご存じでしょうか。
今回の「バイオヴォルテックス京都」に展示されていた作品の中にも、登録されている特許や意匠関連するものがいくつも見つかりました。作品を「体験」として楽しむだけでなく、その裏側にある技術やデザインの工夫を知ると、見え方が少し変わります。一見、偶発的に発生しているように見える作品も、裏側でしっかりと設計され、守られている仕組みがあります。
本記事では、バイオヴォルテックス京都の作品とあわせて、関連する特許や意匠の一部をご紹介します。もう一つの視点からチームラボを見ていきましょう。
目次
1.作品No.1『呼応する小宇宙』(音と光の同期制御)
まずご紹介するのが『呼応する小宇宙』という作品です。

(筆者撮影)
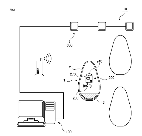
静かな空間に入ると、卵型のオブジェ(以下、揺動体)がきれいに並んでおり、光を発しながら、時々その色を変えながら揺れています。この揺動体は鑑賞者が触ることができて、手で軽く触れるとゆらゆらと揺れ、しばらくすると静かにもとの姿勢へと戻っていきます。
この作品は、単に揺動体が自ら光や音色を発しているのではなく、よく見ると揺動体同士が連動し、光や音の変化が空間に広がっていきます。
太陽の下では、Ovoidは周りの世界を映しはじめる。人に押され、もしくは風に吹かれ倒れると、音色を響かせ自ら立ち上がる。その周辺のOvoidも次々に呼応し、同じ音色を響かせ連続していく。
(チームラボオフィシャルサイトより引用)
この演出が、幻想的な空間を創り出しているように感じました。
この演出を技術的な視点で説明すると、個々の揺動体の発光や音の出力を同期させるといったことが行われているのですよね。
この発光や音の同期制御について、複数の特許出願がされていたのでご紹介します。
1-1.特許① 音の同期制御
音の同期制御技術が、特許第7295586号で保護されています。
揺動体は、ユーザによる動作(例えば、タッチなど)を検知することにより音を出力するのですが、動作を検知してすぐに音を出力するのではなく、周りに配置される揺動体と出力するタイミングを揃えます。

実施例には、音を出力するテンポが予め一律に決まっており、動作を検知した揺動体は、次に音を出力できるテンポが来るのを待ち、タイミングの到来とともに音を発する、といった説明があります(段落0038)。
全ての揺動体に対してこのようなルールで音を出力するように制御装置が制御することにより、ユーザは揺動体同士が協調しているように見え、一体的な空間を作ることができます。それぞれの揺動体がそれぞれのタイミングで音を出力していたら統一感を作るのが難しい。このようなルールの工夫により、空間の一体感が創られているのですね。
1-2.特許② 光の同期制御
続いて、揺動体の発する光の同期制御です。光の同期制御技術は、特許第7144882号で保護されています。

通常時には、制御装置から各揺動体へ発光データが送信され、揺動体は受け取った発光データに沿って、データにおいて指定されているタイミングで発光します。
鑑賞者が揺動体を押すなどして揺らした場合は、揺動体の内部に設けられているセンサによって、加速度または角速度の変化が検知されます。鑑賞者が力を加えたことによる揺動体の動作が検知されると、通常の発光データによる発光ではなく、揺動体に特別な色の変化が生じ、例えば、色がランダムに変化したり、点滅したりします。
そして、その動作検知は無線通信によって隣接する揺動体にも送信され、周囲の揺動体も連動して発光状態を変化させます。
1-3.意匠① 揺動体のデザイン
さらに、揺動体であるこの卵型のオブジェ自体も、意匠登録(意匠登録第1711066号)されています。

意匠登録1711066【正面図】より引用。左側の写真は筆者撮影
本物品は内部に照明装置を備えた起き上がり小法師のような置物であり、内部下部にはウエイト(錘部材)が配置され、外部から衝撃が加わると揺動し、再び起き上がる構造となっています。
この作品において、揺動体が鑑賞者によって押されてゆらゆらと揺れ、再びもとの姿勢に戻るデザインであることが分かります。この「戻る」という性質が、空間全体の統一感を支えているのですよね。
このように、光や音の出力タイミングは、制御装置から送られる発光データによって同期され、鑑賞者による揺動体への力の付加の動きが検知されれば、その情報が隣接する揺動体へと伝わり、連動して変化します。この仕組みは、特許によって保護されています。
そして、強く押しても自ら起き上がり、一定の向きを保つ卵型の形状は、意匠として登録されています。
この『呼応する小宇宙』の作品は、「光と音を連鎖させる」技術と、「自立した動き」を担保するデザインの双方によって実現されていることが知財情報から分かりますね。
2.作品No.2 『質量も形もない彫刻』(泡の演出)
これまでのチームラボとは比にならない、さらなる没入感。ついに、泡の世界に足を踏み入れました。この作品は、「バイオヴォルテックス京都」で初めての公開だそうです。

(筆者撮影)
泡の塊が空間に浮遊しています。泡の塊は、空気の流れに乗って移動し、ときには小さく分解したり、くっついて大きくなったりしながら移動します。大きな泡の塊が向かってきて、その動きは人間がコントロールできるものではありません。
自ら泡の塊を触りにいって感触を確かめたり、なされるがままに巨大な泡に包みこまれたり。シャンプーのような泡とはまた違って、人の頭や体にふわりと付着する感じも心地よいのです。
チームラボ公式サイトでは、『質量も形もない彫刻』について、このような説明から始まります。
浮遊する巨大な彫刻は、泡の海から生まれ、質量の概念を超越し、地面に沈むこともなく、天井まで上がりきることもなく、空間の中ほどを漂う。この浮遊する彫刻の存在の輪郭は曖昧で、千切れて小さくなったり、くっついて大きくなったりする。人がこの彫刻に身体ごと入り込んでも存在は維持され、人々によって壊されても、自ら修復する。しかし、塊は、自ら修復できる範囲を超えて破壊された時、修復が追いつかず崩れていく。そして、人々が押したり、横にのけようとしても、この彫刻を動かすことができないし、人々が風をあおげば、彫刻は散り散りになってしまう。人間の物理的な行為では、この彫刻を動かすことすらできない。質量も形もない彫刻 / Massless Amorphous Sculpture | teamLab / チームラボ
この「巨大な彫刻(つまり、泡の塊)」の存在をどのように創り出し、空気の流れに乗って移動させながら、空間に存在させているのでしょうか?
その秘密と関連する技術が、「泡演出システム及び泡演出方法」という発明名称で特許として登録されています。

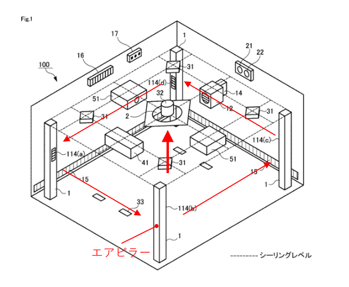
特許第6841957号 図5より引用
この特許を読み解きながら、泡の発生や浮遊の工夫について説明していきます。
2-1.空気の流れによる泡の浮遊維持
泡が浮遊し続けるためには、偶然の風ではなく、計算された“空気の流れ”が必要です。
まさにその空気の流れを作る方法が、特許の請求項において表現されています。
空間の周囲(例えば、四隅)に排気口(エアピラー)を設け、その四隅から横方向の気流を発生させることで中央に渦を形成します。

特許第6841957号 図1より引用。赤矢印および赤字は筆写追記
さらに、空間上部に吸引口を設けて、上方向に空気を吸い込むことで、その渦が縦方向に伸び、竜巻状の上昇気流を生み出します。

特許第6841957号 図1より引用。赤矢印および赤字等は筆写追記
空間の上方に設けられた泡発生装置(バブルポンプ)から生成された泡は、一度重力方向に落ちていきます。しかし、落ちてきた泡の集合体は、この竜巻状の上昇気流に乗ることで、空間内を漂いはじめます。

特許第6841957号 図1より引用。赤矢印および赤字等は筆写追記
さらに、床面と天井面にも工夫があります。水平方向の気流を発生させる構成があり、泡の集合体を床面から引き剥がし、浮遊状態を維持します。

特許第6841957号 図1より引用。赤矢印および赤字等は筆写追記
天井面にはシーリングファンを設け、天井と平行な気流を形成することで、周期的に気流構造を調整し、泡が吸気口に吸い込まれるのを防止します。

特許第6841957号 図1より引用。赤矢印および赤字等は筆写追記
これら複数方向の気流が組み合わさることで、泡の集合体は空間の中央付近に“存在し続ける”ことが可能になります。
2-2.泡の量の制御
さらに光センサが赤外線等のレーザー光パルスを投光することによって集合体の座標情報を取得します。この情報に基づき、
・バブルポンプの生成量
・ミストの噴霧量
・トルネードファンの風量
をリアルタイムで制御します。
泡が減れば生成量を増やし、崩れそうになれば風量を調整します。つまり、この彫刻は“自然に存在している”ように見えながら、実際にはこのようなフィードバック制御によって支えられているのです。
こうした特許技術のおかげで、泡の集合体は単なる演出素材ではなく、あたかもひとつの生命体のように振る舞います。そして、私たちは、泡が自然に存在し、その形を変えながら浮遊し、移動する世界を楽しむことができます。
『質量も形もない彫刻』という芸術を支える裏側の技術を垣間見ることができました。
3.作品No.3『呼応するランプの森』(展示室の内装)
こちらはチームラボの代表的な作品として知られるエリアです。何枚でも写真に残したくなってしまうほど視覚的に迫力があり、没入感を体験できるエリアですよね。

(筆者撮影)
エリアに足を踏み入れると、数々のランプが吊り下げられて設置されています。さらに壁も、床も、天井も鏡張りになっていて、境界が曖昧になり、視界はどこまでも続いているように見えるのです。どこまでも続く無数のランプに囲まれているような感覚になります。
この空間は、「展示室の内装」として、意匠登録されています。

どこまでもランプの広がる空間がどのように創られているのでしょう?
意匠公報に掲載された参考平面図には、空間に規則的に並ぶ無数のランプを示す円が描かれています。

この規則正しく天井から吊り下げられたランプが、空間の壁・床・天井の鏡面に映ることにより、無限に連続して広がっているように見えます。

意匠登録1794322【透視図15の境界を表した参考透視図15】
画像の赤線が、床面と壁面(出入口を含む)と天井の境界を示しています。
空間内に立つ人は、壁と床と天井の境目も曖昧、また、空間の端の存在も曖昧に見えるのです。この意匠はそういった「見え方」の設計を保護しているのです。
さらに、人間が立ち止まった場所に近いランプが強く光るように制御されています。そしてそのランプの光は、近くのランプに伝播していきます。空間に同時に存在する人々がさまざまな地点で立ち止まると、ランプの光り方が変わり、人々の「見え方」が変化する面白さもあります。
意匠登録された「展示室の内装」は、単にランプという物体の形を守っているのではありません。無数のランプの配置と、鏡面による反射とが組み合わさって生まれる、空間全体の「見え方」を保護しています。鑑賞者がどの方向を向いても、境界が消え、この空間が続いているように見える。
『呼応するランプの森』の世界観は、この設計思想が意匠として守られることで成り立つ作品なのですね。
4.作品No.4『イロトリドリのエアリアルクライミング』(遊戯室の内装)
この空間には、ロープで吊られたたくさんの板が空中に浮かびます。この空間では鑑賞者が自身の身体を動かします。ロープで吊られた板から板へ移動しながら、対岸へ渡ります。
それぞれの板は、高さ方向も異なるように配置されています。

(筆者撮影)
一見自由に配置されているように見えるカラフルな板は、実は対岸へ渡るための複数のパターンのルートとして設けられ、計算されて配置されています。
この空間は、「遊戯室の内装」として意匠登録(意匠登録第1783162号)されています。

遊具としての形状を保護しているというよりは、遊具のようでいて空間全体が一つのデザインになっている、その構成そのものが意匠として守られています。具体的には、下記の観点を踏まえ、内装として保護されています。
・空間内での平面方向における板の配置
・高さを変化させた配置
・一方の岸から対岸へと渡ることができる構成
例えば、下に示す【踏み板の高さ寸法を示した参考平面図】は、配置される高さごとに板が色分けされています。また、複数のルートで人間が岸から岸へと渡れるように、平面方向に板が配置されていることがわかります。

意匠登録第1783162号【踏み板の高さ寸法を示した参考平面図】より引用
さらに興味深いのは、この作品が「空間」だけでなく、「板」単体でも意匠登録されていることです。宙吊りになったカラフルな板は、「遊具用踏み板」として意匠登録(意匠登録第1704571号)されています。

つまりこの『イロトリドリのエアリアルクライミング』の作品は、部材としての板と、それらの部材が構成する空間全体との双方の観点でデザインが保護されています。
鑑賞者が「体験者」として身体を動かしながら楽しむこの体験の裏側には、部材と空間をいずれも保護するというデザイン戦略がありました。
カラフルに着色された色の板は、人が乗ると強く輝き(キラキラっとしている)、板の色特有の音色が響きはじめます。多くの人がさまざまな色の板に乗ることで、音色が重なる、といった仕掛けもあります。その場に居合わせた鑑賞者が一体となって音を創っていくといった新たな体験が楽しめますね。
5.他にも見どころ満載の作品たち
本記事にて、知的財産を交えながらご紹介した作品は、全体のごくわずかです。
最後に、他にも見どころ満載だった作品を、少しだけご紹介します。
『あおむしハウスの高速回転跳ね球』

(筆者撮影)
カラフルな球体の上に飛び乗り、反対側へ渡ります。連続して同じ色の球体を踏むと、球体が弾ける様子が見られます。
『インビジブルな世界のバランス飛石』

(筆者撮影)
飛び石に乗ると、音や光が変化します。子どもはキラキラと光る石から他の石へと飛び移ることを楽しみ、見守る大人は音や光の変化を楽しみます(※年齢制限あり、20歳以下の方のみ体験可能)。
『凝固した光の海』

(筆者撮影)
ごつごつとして岩石のような形状、でもそれらがまとう光は美しく、色を変えながら存在します。ここはフォトスポットもあり、写真撮影の列ができていました。
6.まとめ~チームラボの体験を支える特許や意匠
今回「チームラボ バイオヴォルテックス京都」にて展示されている作品に関連する知財情報を調べてみました。展示されている作品はどれも、アートとして感覚で楽しむことができます。
しかし、それらの体験は決して偶然に生まれているのではなく、緻密に設計されていることが分かりました。技術やデザインにより「体験を成立させ、最大限に引き出す」工夫がなされ、それらが特許や意匠によって守られていることが見えてきました。
例えば、不思議に泡が空中に浮き続ける『質量も形もない彫刻』は、泡を発生し、維持する仕掛けが特許で守られています。他には、「卵型のオブジェ」のデザインや「遊戯室の内装」などが意匠登録されており、技術とデザインが相まって、唯一無二のチームラボの作品を実現しているのがわかります。
作品を鑑賞するのにあわせて、その作品はどうやって実現されているか?裏側を少しのぞいてみると、作品の見え方が変わり、もう一段深く面白くなりますね。もしまた訪れる機会があれば、感覚で楽しみながらも技術にも着目する、そんな楽しみ方ができそうです!